Cookies nastavení

Vaše soukromí je důležité. Můžete si vybrat nastavení cookies níže.

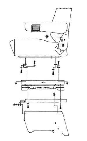
Podstavec Ducato 230/Jumper/Boxer

Kód produktu: 59579 Kód výrobce: 4033844004077 Výrobce: Sportscraft

Podstavec pro pro vozidla Ducato/Jumper/Boxer pro rok výroby 1995-2001

Zobraz detailní popis
4 946 Kč
4 088 Kč bez DPH
Skladem u dodavatele (7 - 10 dní)
ks

Detailní popis

Podstavec je určen pro pro stranu řidiče i spolujezdce

Podstavec je nižší než standardní, tak spolu s otočnou konzolí nedochází k navýšení o výšku konzole


 

Obsah balení

podstavec

Hodnocení produktu

Produkt zatím nikdo nehodnotil, buďte první!